北京市凌鷹起重機械廠
地址:北京市昌平區東小口
二十四小時手機:18611422091(同微信)
傳真: 010-58043523
抖音:lyqz18611422091
掃一掃加微信好友




鋼絲繩電動葫蘆是由數個可拆開的單獨部件組成,主要包括起升減速器、運行機構、卷筒裝置、吊鉤裝置、電動機、電氣控制裝置等,結構特點及原理分述如下:
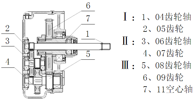
起升減速器:電動葫蘆起升減速器,均采用標準模數斜齒輪三級減速。齒輪及齒輪軸由合金鋼鍛制,并經熱處理。全部采用滾動軸承。箱殼為鑄鐵制造,裝配嚴密,灰塵不易侵入。傳動原理見下圖:

運行機構:電動葫蘆的運行機構為電動式,固定式無此機構。減速器齒輪位合金鋼鍛制,并經熱處理,采用二級減速,全部采用滾動軸承,箱殼為灰鑄鐵制造。根據品種規格的不同,運行機構結構型式也有所不同。
卷筒裝置:起升高度H=6-12m時,卷筒為鑄鐵制成。H>12m時為鋼卷筒,其左端以花鍵與減速器輸出空心軸連接,另一端則以滾動軸承架于電動機前端蓋伸出部分上。卷筒外殼以鋼板卷成。鋼絲繩按卷筒上的螺旋槽纏繞,繩一端用壓繩板固定在卷筒上,另一端用楔形塞塊固定于外殼上。
吊鉤裝置:吊鉤采用DG20吊鉤專用鋼模鍛而成,懸于滾動軸承上,用十字頭與吊鉤外殼相連接,使吊鉤能自由旋轉與擺動。
聯軸器與中間軸:電動機的力矩,通過爪式彈性聯軸器、中間軸傳給減速器,該聯軸器能吸收沖擊載荷獲得平穩的起動。聯軸器的左端花鍵套能相對滑動,以保證電動機起動時所需的軸向竄動量。
?
上一條:煙氣脫硫工程中電動葫蘆的安裝程序
下一條:手拉葫蘆需停止起吊的幾個條件