北京市凌鷹起重機械廠
地址:北京市昌平區東小口
二十四小時手機:18611422091(同微信)
傳真: 010-58043523
抖音:lyqz18611422091
掃一掃加微信好友




目前市場上的電動葫蘆都帶有限位裝置,但是使用時間過長之后限位開關容易移位,會出現限位開關失靈,嚴重時出現電動葫蘆頂撞現象,出現重大生產事故。根據以上情況,北京凌鷹提供一種能夠保證電動葫蘆長期安全使用的電動葫蘆限位報警裝置。
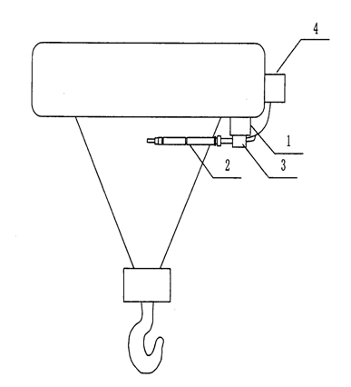
電動葫蘆限位報警裝置,包括安裝在電動葫蘆上的限位檢測裝置,電動葫蘆上位于所述限位檢測裝置的下方設有報警檢測裝置,報警檢測裝置通過報警啟動開關連接有報警裝置;本實用新型的有益效果是:在電動葫蘆的限位檢測裝置的下方安裝有開關探針,能夠在電動葫蘆的限位開關工作之前檢測到電動葫蘆的上升位置,發出報警提示工作人員電動葫蘆即將達到上限位置,達到預警的效果,同時再加上安裝限位開關為電動葫蘆的安全使用起到雙重保險。
電動葫蘆限位報警裝置,包括安裝在電動葫蘆上的限位檢測裝置1,所述電動葫蘆上位于所述限位檢測裝置1的下方設有報警檢測裝置2,所述報警檢測裝置2通過報警啟動開關3連接有報警裝置4,所述報警裝置4為聲音報警裝置或燈光報警裝置,所述報警檢測裝置2為與所述報警啟動開關連接的開關探針。
當電動葫蘆吊鉤懸掛的物體上升至開關探針的檢測范圍之內,開關探針就能檢測到物體的位置信息,所述報警檢測裝置2通過報警啟動開關3與報警裝置4電連接起來,所述報警裝置4為聲音報警裝置或燈光報警裝置,當開關探針檢測到物體的位置信息后,傳輸到啟動開關3中,從而啟動報警裝置4,報警裝置4通過聲音或燈光將信息傳輸給工作人員,以便于引起他們的注意,防止電動葫蘆因過度上升而碰撞損壞,有效地保證電動葫蘆的安全使用。

上一條:如何實現手拉葫蘆的運行
下一條:有適合高空作業的手扳葫蘆嗎?